
Navštíveno 1077x


02.05.2006, 22:22 |
svity01 | Upraveno: 2006-05-02 22:23:39
Zdravím, chci se zeptat když je doporučený rozměr alu 5,5 J x 14" ET 42 (TP), tak je mi jasný že ET je zális, ale z čeho jak je vypočítaný těch 42 a v jakých mírách. Proč se ptám? Mám kolečka nejspíš 6 J (musím ještě juknout v garáži), ale ET je 38 ve 14" a na přední nápravě mi drhnou nejspíše o klouby řízení. Měl jsem jednou 5,5 J v 14" ET 40 tak ok. Jak široký mám koupit podložky abych kolesa krapet vytáhnul a nikde mi ve předu nedrhly??? díky všem...
jo a je to na felinu...
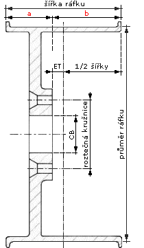
vzdalenost v milimetrech od pomyslne roviny, prochazejici polovinou sirky disku...
nebude spíš problém s tvarem toho disku? zevnitř? ET je v mm......a jak píše Lukaash..........
mě ty kola drhnou jak je na tom nákresu hodnota CB tak v těch krajích...

03.05.2006, 14:42 |
jolik mněl jsem na filetě 6j/14 a nedrhlo nic zkus strčit prsty zvrchu až k tlumiči nejspíš Ti to dře tam. Co máš za gumy? Já mněl 185/60, na 65 by to asi drhlo.

03.05.2006, 14:43 |
jolik zapomněl jsem et38
svity01: to nějak nechápu, to CB znázorňuje průměr středové díry. To jako myslíš, že ta díra v tom kole je moc malá?

03.05.2006, 15:37 |
jolik Ted se dívám kde je CB,a už je mi to jasný dře mu středová díra o ložiska
:-)))))))
kdepak díra malá, ale na kraji tý díry mi to drhne :o( mimochodem 6 J je v palcích ne? mimochodem J je zkratka jakýho slova???
určitě??? i když je disk širší o 1/2 palce?
svity01: pořád to nějak nechápu, kde ti to dře. Prostě co myslíš tím krajem díry. Nechceš to nějak do toho nákresu znázornit? Protože pokud je to tak, jak myslím, tak máš moc malou tu středovou díru
taky nepobírám co může drhnout vždyť v tom místě je to nasazený na kotouč co má nos kterej pasuje do díry, žádný ložisko tam není ....

04.05.2006, 18:17 |
jolik mar:byl to vtip

07.05.2006, 16:28 |
svity01 | Upraveno: 2006-05-07 16:29:12
Předtím jsem se pletl s tím CB a drhne to vlastně na kraji disku :o(
